1. 91免费在线视频,91视频最新地址,91麻豆国产福利精品,91嫩草国产在线观看www免费

      液位91视频最新地址_智能壓力91视频最新地址_3051差壓91视频最新地址_單雙法蘭,投入式,電容式,溫度91视频最新地址-淮安91免费在线视频儀表科技有限公司

      谘詢熱線

      0517-86917118

      產品直通車

      液位91视频最新地址係列
      液位壓力91视频最新地址 法蘭式液位91视频最新地址 靜壓式液位91视频最新地址 壓力液位91视频最新地址 GPRS無線遠傳壓力|差壓|液位|91视频最新地址,液位計 單法蘭液位91视频最新地址 防腐投入式液位91视频最新地址 差壓液位91视频最新地址 磁翻板液位91视频最新地址 雙法蘭液位91视频最新地址 電容式液位91视频最新地址 浮球液位91视频最新地址
      差壓91视频最新地址係列
      壓差91视频最新地址 差壓91视频最新地址 微壓差91视频最新地址 雙法蘭差壓91视频最新地址 防爆差壓91视频最新地址 差壓流量91视频最新地址 智能差壓91视频最新地址
      壓力91视频最新地址係列
      隔膜壓力91视频最新地址 3051壓力91视频最新地址 衛生型壓力91视频最新地址 微壓壓力91视频最新地址 平膜壓力91视频最新地址 數顯壓力91视频最新地址 擴散矽壓力91视频最新地址 ***壓力91视频最新地址 電容壓力91视频最新地址 3351壓力91视频最新地址 單晶矽壓力91视频最新地址 小巧型壓力91视频最新地址
      液位計係列
      電容式液位計 超聲波液位計 浮標液位計 壓力式液位計 石英管液位計 差壓液位計 磁翻板液位計 玻璃板液位計 磁浮子液位計 側裝磁翻板液位計 雷達液位計 磁浮球液位計
      差壓91视频最新地址
      您的位置: 首頁>>所有產品>>差壓91视频最新地址係列

      差壓91视频最新地址

      • RZ3051-DP差壓91视频最新地址的3種應用測量方式:(1) 差壓91视频最新地址與節流裝置相結合,根據節流裝置前後產生的差壓值換算流速(2) 利用液體自身重力產生的壓力差,測量液體的高度(3) 直接測量不同管道、密···
      • 在線谘詢
      • 質量穩定
      • 價格合理
      • 交貨快捷
      • 91免费在线视频儀表為您提供全套差壓91视频最新地址係列解決方案
      • 銷售:0517-86917118    15601403222 、 13915181149
      • 傳真:0517-86917118
      • 地址:江蘇省淮安市金湖縣金荷路201號
      • 產品詳情

      RZ3051-DP差壓91视频最新地址的3種應用測量方式:

      (1) 差壓91视频最新地址與節流裝置相結合,根據節流裝置前後產生的差壓值換算流速
      (2) 利用液體自身重力產生的壓力差,測量液體的高度
      (3) 直接測量不同管道、密閉帶壓容器的壓力差值從而換算出液位高度。
      RZ3051-DP係列差壓91视频最新地址采用模塊化設計,由帶集成電子適配單元的傳感器模塊和就地按鈕單元的放大器模塊組成,其中傳感器模塊包括差壓傳感器、絕壓傳感器、溫度傳感器,可同時測量差壓、絕壓、儀表溫度,因此RZ3051-DP係列差壓91视频最新地址具有非常優異的靜壓特性和溫度特性。
        
      RZ3051-DP差壓變送器特點-----------------------------------------------------------------------------------
       
      ·具有很強的自診斷能力 量程覆蓋寬0-0.1KPa~40.0MPa
      ·精度0.075級,量程比100:1 零點和量程調整互不影響
      ·兼有遠程和本地量程、零點調整 具有很強的數據保護和恢複機製
      ·穩定性能好,精度高,阻尼可調,抗單向過載能力強
      ·無機械傳動部件,維修工作量少,堅固抗振
      ·全部通用件,更換傳感器不影響91视频最新地址特性,維護更方便
      ·接觸介質的膜片材料可選擇 防爆殼體結構
      ·二線製,符合HART協議,可與HART275型及375型手操器進行數字通信而不中斷模擬量輸出
       
      差壓91视频最新地址
       
      差壓流量91视频最新地址


      係統展示----------------------------------------------------------------------------------------------------
       



      差壓91视频最新地址測量液位安裝示意圖
       
      -----------------------------------------------------------------------------------------------------------------
       

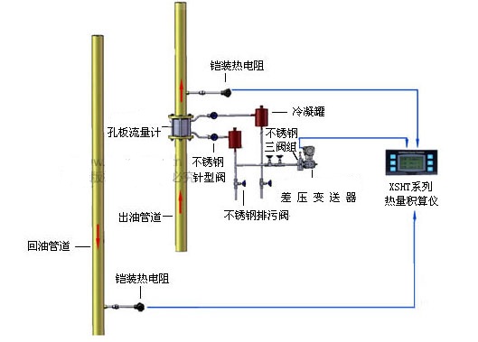
      導熱油爐熱量計量係統安裝示意圖
       
      -----------------------------------------------------------------------------------------------------------------
       




      過熱蒸汽計量係統安裝示意圖
       
      -----------------------------------------------------------------------------------------------------------------
       

       
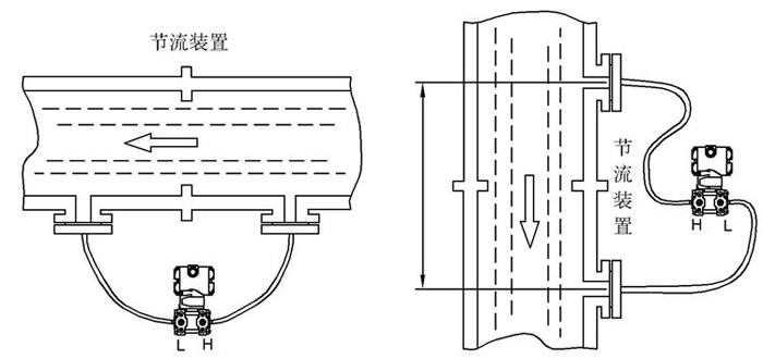
       差壓91视频最新地址測量流量安裝示意圖
       


      技術參數-----------------------------------------------------------------------------------------------------
       
      測量介質 液體、氣體或汽體
      測量範圍 量程代碼 量程範圍(KPa) 測量範圍(KPa)
      3 0.8~7.5KPa -7.5~7.5KPa
      4 1.0~37.4KPa -37.4~37.4KPa
      5 4.7~186.8KPa -186.8~186.8KPa
      6 17.3~690KPa -690~690KPa
      7 51.7~2068KPa -2068~2068KPa
      8 172.3~6890KPa -100~6890KPa
      輸出信號 二線製,4~20mADC輸出,疊加hart協議數字通訊。
      電 源 24VDC(正常工作電壓範圍12~36VDC)
      防爆標誌 隔爆型:ExdⅡCT6,本安型:ExiaⅡCT6
      防護等級 IP66
      量程比 100:1
      精度等級 0.075級、0.1級
      穩定性 0.075級:36個月誤差為*大量程的±0.2%
      0.1級:36個月誤差為*大量程的±0.25%
       
        RZ3051-DP係列差壓91视频最新地址**適用於石油、化工、航空、航天、軍工、紡織、冶金、礦山、輕工、醫藥、電力、環保、市政、食品、衛生等行業和科研領域的全天候惡劣環境下,尤其適用於具有腐蝕性、衝擊性、震動性等應用場所。RZ3051-DP差壓91视频最新地址運用成熟的獨特技術生產,是美國、日本原裝進口產品的理想替代品。



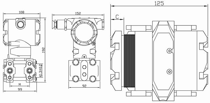
      差壓91视频最新地址產品尺寸及安裝方式


      差壓91视频最新地址




      差壓91视频最新地址



      差壓91视频最新地址


      液   位  測  量


      差壓91视频最新地址

      流  量  測  量

      差壓91视频最新地址


      上一條:沒有了!
      下一條:智能差壓91视频最新地址